Emplacement Visité 508115 periodes Page Visitee 25 periodes Vous Etes ici: Etantonio/FR/Universita/4anno/Microelettronica/     

Caractérisation des circuits et des évaluations des exécutions

1) estime de la résistance :

La résistance présentée d'une couche de conducteur matériel est où Rs est la résistance de la feuille et de la mesure dedans avecle  . De telles résistances dans le cas du polisilicio et les diffusions sont influencées des concentrations de dopage de et de la présence des matériaux comme le silicidi.

Un MOS de dispositif d'ailleurs peut souvent être caractérisé de sa résistance .

 

2) Condensateur CMOS :

Le condensateur CMOS est formé exclusivement du substrat p-enduit, du SiO2 et déclenche métallique ou dans le polisilicio, peut être présenté les situations suivantes :

) accumulation : à la porte ceux qu'elle vient a appliqué une tension négative, elle attire des lacunes à l'oxyde donc les capacités sont seulement ces une de l'oxyde avec = secteur de porte et etSiO2 = 3.9.

b) épuisement : une tension faiblement positive enlève des lacunes mais elle n'est pas en position à attirer des électrons, d'elle qu'elle dérive cela dans serrés de l'oxyde un est eu a vidé la couche de porteurs d et capacités larges d'avoir avec et = 12. est donc le total de capacità présenté du MOS de condensateur, série de départementde C 0 etde C

c) inversione : une tension positive avançée au Vt rappelle les électrons du substrat qui viennent pour constituer un canal, de tels électrons mais ne réussit pas pour suivre des variations de marque elles du revenu aux fréquences avançées à 100Hz donc pour des fréquences inférieures que les capacités sont C0 tandis que que les fréquences avançées il sera considèrent également le département des capacitésC et donc toutes les capacités sont Cgigaoctet que c'est également le minim possible.


 

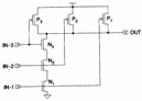
3) capacités de porte à à un MOS :

Les présents parasites de capacités dans un MOS sont représentés de la figure suivante

En particulier les capacités à la porte ceux sont Cg = gdde C le gigaoctetC gsC où le gdde C gs etde C sont des vues entre la porte ceux et le canal donc si est absent est absent également ils donc au deuxième de la région du fonctionnement du MOS est eu :

) interdiction : le canal est absent donc les seules capacités est donnéC gigaoctet de la série de 0départements de C etde C

b) non-saturazione : le canal est donc C formégigaoctet = 0 tandis que

c) saturazione : le canal n'est pas formé du côté du gd du drain doncC = 0 alors que

Au but calculer les retarde dans les circuits numériques C g =C 0 peutêtre rapproché .

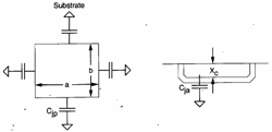
Jusque à la place le DB des capacitésC et le Sbde C présentés vers le substrat des diffusions de la source et du drain, est eu que le ciascuna de lui il vaut la peine le jade C est les capacités verticales entre la diffusion et le substrat tandis que le jpde C est les capacités périphériques présentées de 4 côtés de la diffusion qui a une profondeur non nulle.

Il est jade C que le jpde C est mais la fonction de la tension actuelle aux têtes de l'épissure en second lieu où Cj0 est les capacités dans le cas la tension aux têtes de l'épissure est nulle, Vb @ 0.6V et m changent de 0.3 à 0.5 à la deuxième de la discontinuité de l'épissure.

 

4) analyse et solutions pour les circuits distribués RC :

Dans le cas des ouvertures dans le polisilicio beaucoup de longs ou des ouvertures dans chargement lourd en métal, sont eus des forts retardent de la propagation qui peut être étude au moyen de la théorie des lignes pensant que la ligne à vous a subdivisé dans infini ayant l'épaisseur infinitésimale d'ébauches, la résistance à l'unité r de longueur et les capacités à l'unité de la longueur c, dérivent qui a supporté retardentt X d'un les marque que les croix discrètes d'une analyse une distance le long de la porte de è de x calculant à la place le dû retardentt n au n-esima de section, a .


Le cours quadratique du retarder concernant la distance est beaucoup le lourd, beaucoup à rendre recommandé dans certains cas à l'insertion de l'amortisseur suivant la ligne que régénéré marquez-les, le retarder qui est obtenu considérant également un intérieur retardent à l'amortisseur d'un certain NS, est toujours inférieur au retarder qui est eu en l'absence de l'amortisseur. Alternativement la source dans le morceau de sorte qu'elle TOS soit éloignée peu de l'adressee, ceci peut être décidée est la raison pour laquelle le sovente d'horloge il est trouvé au centre du morceau. Un modèle pour le calcul du retarder est :

5) concernant des périodes caractéristiques la commutation d'une porte :

tempsnécessaire de t r de sorte que l'évasion passe de 10% à 90% de sa valeur stationnaire

tempsnécessaire de t f de sorte que l'évasion passe de 90% à 10% de sa valeur stationnaire

le momentde t d qui s'écoule entre la variation de 50% du revenu et la variation de 50% de l'évasion, vient également défini les temps tDR et relatide t DF vous à l'augmentation et à la réduction


6) le modèle analytique de retardent de l'inverseur un CMOS :

Ils viennent calcule le t à vousr et tf pour le circuit suivant quand il est à lui s'est appliqué à un quart de cercle de vague avec des fronts à la pente infinie. Pour le calcul de la période de la réduction, nous faisons à référence le NMOS. Si dans le revenu il y a de 0 puis le NMOS c'est l'interdetto (X1) et l'évasion sera à la densité double de la valeur maximumV . Quand le revenu passe à 1, le NMOS instantanément qu'il passe dans la saturation (X2) et commence à décharger un rampa en second lieu, mais quand la densité double arriveà V hors de =le â "V tnde V il passe dans la saturation et la décharge avec la loi quadratique jusqu'à và solides solubles (X3).

Évidemment donc le calcul de la période de la réduction est subdivisé dans deux est fait, dans lesquels le NMOS il est dans la saturation (…est résolu pour la séparation de la variable l'équation, intégrant entre la densité double0.9V et la densité doublede V- Vtn …est obtenu) et l'autre dans lesquelles il est dans la région du triodo

(…avec l'expressiondu DS pour la région du triodo et intégrer entre le âla " densité double tn et0.1V de V de densité doublede V est obtenue … ). La somme des deux temps peut être approchée de a comporté la valeur avec du k entre 3 et 4 et de la manière analogue qui est obtenue pendant la période de l'élever, implique que si le MOS ont les mêmes dimensions, la période de l'élever est la double quantité de la période de la réduction de combien mobilité des électrons coûte double concernant la mobilité des lacunes, parce que avoir les mêmes temps est nécessaire de faire Wp = 2 Wn .

Dans la mesure où les temps de retardent ils sont simplement la moitié des temps de respect à vous de l'élever ou réduction et peuvent être exprimés en forme e à p età n ils ont une expression complexe mais ils peuvent être vous approche de la valeur calculée 0.36 avec l'ÉPICE.

 

7) Retardent d'une porte logique :

Le retarder de simple une porte logique peut être calculé construisant l'inverseur un équivalent dans lequel c'est les dimensions de déroulant et ceux du tirent-vers le haut reflètent les distances qui sont efficacement en activité dans le déroulant et dedans

tirez-vers le haut, en particulier en considérant comme exemple un un non-et à 3 revenus

on l'a que que le déroulant il est considère la série des 3 NMOS et donc de leurs conductances donc pour ble N2 de n1 =de b = le bn3 est eu tandis que pour tirez--vers le hautl'est nécessaire pour considérer seulement 1 PMOS donc après tout l'e considérant ha tr @ tf . Cette méthodologie peut être imaginer motivé à faire pour étirer à 0 la distance entre la porte l'un des 3 NMOS, a en fait dans tels seulement la porte de cas un un 3L large.

 

8) Infuence de la pente de la forme de la vague du revenu sur le retarder d'une porte logique :

La pente de la forme de la vague de revenu peut modifier le retarder d'une porte, en particulier si les fronts sont beaucoup les raides retardent alors sont déterminés la plupart du temps à partir des distances de la charge et déchargent tandis que si le revenu divers contribue lentement alors au retarder de l'évasion, en particulier est eu d'où l'DR-ÉTAPEde t il est la période retardent dans l'élever qui est eu pour qu'un revenu fasse un pas, tentrée-tombent est la période de la réduction du revenu et .

Dans la manière analogue le escroc est eu.


 

9) modèle le commutateur afin de calculer le retarder d'une porte :

Ils sont des modèles pour le calcul de retarde des portes complexes, le MOS comme les résistances qu'ils chargent et ils déchargent des capacités, dans le fattispecie sont basés sur considérer sont affirment après les 3 modèles à vous :

)       à RC

là où Rdéroulant est le total de résistance rencontré dans la distance de déroulant tandis que Cdéroulant les capacités relatives aux noeuds impliqué dans les commutations sont tout. De manière analogue c'est t estiméDR .

b)       Penfield-Rubenstein

là où R est la résistance du noeud de retour Vsolides solubles si le tomber-Temps est considéré (…ou vers la densité doublede V si le rire-Temps est considéré) tandis que C est les capacités au noeud i.

c)       Pente

Elle définit la période intrinsèque de l'élever comme la période de l'élever qui serait eue si dans le revenu est venue a appliqué une étape. Le moment de l'élever efficace vient subdivisé pendant la période intrinsèque de l'élever.

d)       La pente de Penfield-Rubenstein Retardent

La combinaison de la pente et du Penfield-Rubenstein est un.

 

10) modèle afin de calculer le retarder des circuits beaucoup de complexes :

Le retarder d'un donné la porte vient déterminé à l'aide d'un simulateur à partir duquel une équation du type est obtenue où tinterne il est présenté fixe retardent de la porte tandis que tla produisait est un proporziona de retarder ils à la cargaison k.

 

11) effet de â de corps l'"en retarde des portes logiques :

Le NMOS plus de voisins à l'évasion d'un non-et de porte ont le Sb de Vun ¹ nécessairement 0, celui il y a cela qu'elles sont plus de disques d'une valve dans l'effet de commutations qui devient évident si les capacités d'évasion sont comparabile aux capacités intérieures.

Nous considérons le non-et suivant de deux portes :

le non-et vers le haut il a tout le NMOS mis à feu sauf qu'un vers le haut, de lui il dérive que sa source doit amasser et donc quand le revenu passe à 1 le commuta d'évasion rapidement à 0. Dans le non-et bas à la place tout le NMOS vers le haut ils sont en activité tandis que ce un bas est au commencement interdetto, en suit que les capacités seront tous les frais au niveau élevé et quand le filtre passe-haut de revenu, devront être déchargés tous avant que bas approuvent la commutation de l'évasion du niveau élevé le niveau qui se produit donc dans un moment plus longtemps que combien n'est pas eu vers le haut pour le non-et.

Afin de diminuer les effets du corps que le â "effectuent les stratégies suivantes peut être employé :

)       diminuant les capacités aux noeuds intérieurs

b)       pour placer avoir le MOS il les marque qu'ils arrivent pour la fin de bout davantage possible à l'évasion


 

12) calcul des dimensions des transistors dans les portes CMOS :

Dans W aimable p= 2 est fait à Wn l'equalizzare les temps de lui des charges et décharge, mais d'une telle manière soit eu une augmentation du secteur occupé et de la dissipation de dynamique donc si possible les stratégies suivantes soient appliqués :

)       un croisillon des endroits d'inverseur en ayant la série avecW p = 2 queW n d'endroit à la même chose retardent produit d'un croisillon de l'inverseur Wp = Wn , afin de le démontrer est eq de R etde C respectif la résistance et l'équivalent de capacités d'avoir des dimensions unitaires de MOS, et considère le suivant retarde pour des configurations :

Les capacités sont l'eq3C dans combien coûte le parallèle des capacités au NMOS qu'il vaut la peine l'eqde C et des capacités au PMOS qui est l'eq2C dans combien de Wp = 2Wn , de lui il dérive que la période de la réduction est tandis que la période de l'élever est dans combien le PMOS ayant Wp = 2Wn a la résistance divisée en deux concernant la minimum-taille de NMOS, donc totalement le retarder est .

Étant Wp = 2Wn que les capacités au NMOS sont égales à celle-là du PMOS donc seront l'eq 2Ceu , de lui dérive que la période de la réduction est tandis que la période de l'élever est dans combien le PMOS ayant Wp = Wn a la résistance divisée en deux concernant la minimum-taille de NMOS, donc totalement on trouve le retarder qui est le même pour l'autre configuration, avec la différence qui dans vient a diminué le secteur dans combien a Wp = Wn , naturellement ce changement de W influencent b et par conséquent également l'invde V que mais peut changer au maximum de 15%.

b)       Afin de piloter des cargaisons élève beaucoup à vous peut être inséré de l'inverseur en cascade de dimensions graduellement croissantes dans la manière mais diminuer le retarder, le secteur et la dissipation.

Elle est au pourcentage d'augmentation des dimensions d'un inverseur concernant le précédent et td que le milieu présenté retardent de l'inverseur aux dimensions minimales, puis un retarder présenté de chaque étape està d tandis que le total de retarder est dnational qui si nous plaçons il devient où la quantité partielle est la seule sur laquelle elle peut être participée, est eue pour lequel il est minimale = et @ 2.7 cependant en nature dans les applications mettent en boîte d'avoir été comportés entre 2 et 10.


13) actionnent dispersé à partir d'un circuit CMOS :

)       Ps qu' il a doit la dissipation statique qui dans le cas du CMOS est exclusivement due aux valves de diode ornées à vous vous polarise inversement pour chacun duquel a et donc considérant le dispositi de n à vous, la puissance statique dispersée est , parce que un un inverseur typique alimenté à 5V a Ps @ 1nW.

b)       Pd est la puissance de dynamique absorbée afin de charger et pour décharger les capacités de cargaison, considérant dans le revenu avoir la période idéale t p de quart de cerclede vague a .

c)       Le Scde P est la puissance absorbée dans le court circuit quand le revenu n'est pas un quart de cercle idéal de vague mais plus vraiment il est présenté comme une répétition des trapezes comme démontré dans la figure, a avec , est obtenu où trf il est la période de l'élever ou de la réduction de la forme de la vague de revenu et peut donner l'endroit aux variations de 20% dans le cas de l'inverseur chargé.

Le calcul de la puissance dispersée doit être effectué pour chaque capacités à la fréquence pour laquelle elles fonctionnent.


 

 

14) charge - partageant :

Quand un autobus caractérisé d'une capacités C b avecun dispositif caractérisé d'un est voulu pour être prélevé les capacités Cs doivent être faites de sorte que la tension Vait lu R soit presque égale à la tension actuelleV b sur l'autobus, en particulier avant la fermeture du commutateur Q b=C bVbet également Q s=C sVs est eu tandis qu'après que la fermeture soit eue qui au cas où Vb= Vdensité double> > Vs serait réduit à celui respecte donc l'état simple si Cb> > Cs, dans les applications a Cb> 10Cs . Nous considérons l'heure un non-et statique à 2 revenus au commencement tous les deux de porte à 0 et donc l'évasion est à 1, quand le NMOS vers le haut des passages d'évasion à 1 doit encore être 1 cependant pour le partage de charge est abaissé concernant la densité doublede V dans combien coûte les courrier de parasite de capacités entre le MOS deux.

 

15) rendement d'une gaufrette :

Ébauche du rapport entre le n° de bons présents de morceau sur la gaufrette et le n° par total de morceau actuel sur le même, c'est fonction du secteur à du morceau et de la densité des défauts de D, les modèles suivants sont eus :

) graine c'est un modèle utilisé pour le morceau beaucoup grand ayant un subordonné rendu à 30%

b) Murphy est un modèle utilisé pour le morceau petit avec les rendements avançés à 30%.

Le rendement peut être augmenté augmentant la redondance des circuits.